Casa Guerlain - Tesori INPI
VERSIONE FRANÇAISE
Guerlain è una casa francese di profumi, cosmetici e prodotti per la cura della pelle, che è tra le più antiche al mondo - ha 192 anni. Molte fragranze Guerlain tradizionali sono caratterizzate da un comune accordo olfattivo noto come “Guerlinade”. La casa fu fondata a Parigi nel 1828 quando il profumiere Pierre-François Pascal Guerlain aprì la sua prima profumeria al 42 di Rue de Rivoli a Parigi. È stata gestita dalla famiglia Guerlain fino al 1994, quando è stata acquistata dalla multinazionale francese LVMH. Il suo flagship store è 68, Avenue des Champs-Elysées a Parigi.

Pierre-Francois ha composto e prodotto profumi personalizzati con l'aiuto dei suoi due figli, Aime e Gabriel. Il suo approccio unico era quello di personalizzare il profumo per una persona, un luogo o un evento specifici. Honoré de Balzac ha commissionato la sua eau de toilette durante la scrittura di Cesar Birotteau, e il periodico La Sylphide, le Journal des Elegances, ha profumato ciascuna issue con una diversa fragranza di Guerlain.
Guerlain si rivolgeva all'alta società di Parigi e ottenne un seguito molto fedele. La casa di profumi ebbe un tale successo che Guerlain decise di aprire un flagship store al 15, Rue de la Paix a Parigi nel 1840. La casa raggiunse il suo apice nel 1853 con la sua fragranza Eau de Cologne Imperiale. Questo profumo ha fatto guadagnare a Guerlain il prestigioso titolo di Profumiere Ufficiale di Sua Maestà di Francia. Questo a sua volta lo portò a creare profumi per altri reali come la regina Vittoria d'Inghilterra, l'imperatrice Sissi d'Austria, la regina del Belgio e la regina Isabella di Spagna, nonché altre teste coronate di reali.
Pierre-Francois morì nel 1854 ei suoi figli ereditarono la casa dei profumi. Aime divenne il maestro profumiere, una tradizione che sarebbe stata mantenuta per il prossimo maestro profumiere di lignaggio. Gabriel ha gestito e ampliato ulteriormente la casa. Aime, ha creato diverse fragranze per la casa di profumi, tra cui Fleur d'Italie, Rococo e Eau de Cologne du Coq e la sua più grande creazione, Jicky.

Nel 1873, Guerlain ricevette una medaglia al merito all'Esposizione Universale tenutasi a Vienna.
Nel 1875, Aime Guerlain cercò di brevettare il suo logo "Woman Flags" per la casa di Guerlain in Gran Bretagna. Nel 1893 fu registrato in Francia.
Aimé Guerlain, Presidente della Chambre Syndicale de profumo; mostre di giurato del 1878 e del 1889, parteciparono alla mostra di Mosca nel 1892.
Guerlain vinse una medaglia d'argento per i suoi profumi alla Melbourne Exhibition del 1882.
Nel 1914, Guerlain si trasferì a 68, Champs-Elysees Paris. L'attività è stata poi passata ai figli di Gabriel, Jacques & Pierre Guerlain. Jacques è diventato il terzo maestro profumiere e ha creato molte fragranze nella sua vita. Le sue creazioni includono Eau de Coq, L'Heure Bleue, Apres L'Ondee, Shalimar, Vol de Nuit, Ode e Mitsouko. Questi profumi ebbero così tanto successo che alcuni sono ancora venduti oggi.

Nel 1939, Jean Michel Frank diede all'Institut Guerlain di Parigi un aspetto aggiornato sia all'interno che all'esterno, con arredi semplici e funzionali di Chanaux & Cie. Il pittore Christian Bérard, fu assunto da Frank per progettare effetti trompe-l'oeil per simulare Neo -Pannelli architettonici classici sulle pareti della boutique. Per suggerire ombre e luci naturali, sono state utilizzate tonalità di bianco, nero, malva e grigio, che hanno ingannato l'occhio e fornito un effetto tridimensionale.
Usando il disegno murale trompe l'oeil, Margarita Classen-Smith, nota artista tessile e restauratrice, ha tagliato meticolosamente pezzi di nastro di gros-grain per imitare le pennellate del disegno di Berard e poi li ha cuciti a mano su feltro giallo sole. Questi pannelli di tessuto surrealisti furono poi appesi alle pareti come "carta da parati" dove sono appesi ancora oggi.
Nipote di Jacques, Jean-Paul Guerlain è il maestro profumiere di quarta generazione e ha scritto diversi profumi e colonie maschili tra cui Vetiver, Habit Rouge, Samsara, Nahema, Jardins de Bagatelle e molti altri. "Il profumo è la forma più intensa di memoria", ha detto Jean Paul Guerlain.

Oggi Thierry Wasser è il nuovo profumiere della casa Guerlain di Guerlain.
La casa Guerlain non ha mai smesso di reinventarsi e protegge, attraverso numerosi titoli di proprietà industriale, le sue invenzioni, i suoi marchi ma anche i suoi progetti.
Oggi, l'Ufficio francese dei brevetti e dei marchi (INPI) preserva questo ricco patrimonio, concentrandosi su alcuni tesori.
Primi brevetti e marchi
Da 192 anni la casa Guerlain inventa e reinventa la profumeria, i cosmetici in una parola, la bellezza. I primi brevetti depositati da Pierre-François-Pascal Guerlain risalgono alla fine degli anni Trenta dell'Ottocento. Ad esempio, possiamo contare questo brevetto di 1830 anni depositato il 5 aprile 15 per la produzione di un sapone da toeletta (1843BA1, Archivio INPI).

IL PRIMO DISEGNO GUERLAIN ARCHIVIATO ALL'INPI 1843
Il 16,1845 aprile 15 ha anche depositato un brevetto di 1 anni per un arrangiamento dei cosiddetti spazzolini da denti pivot (1274BAXNUMX, Archivio INPI).

Suo figlio e successore, Aimé Guerlain, depositerà anche diversi titoli di proprietà industriale, in particolare questo marchio registrato nel 1875 per una Crema Nivea destinata a sbiancare la pelle (Archivio INPI).
Oggi le creme Nivea conosciute da tutti. Anche se la formula magica non è stata inventata da Guerlain. Fu nel 1911 che il dottor Oskar Troplowitz, in possesso dell'Eucerit, una formula miracolosa inventata dal dottor Isaac Lifschüts, ottenne la prima emulsione di olio in acqua. Questa era un'emulsione stabile, "una bella maionese", come veniva chiamata in stampa. Il suo datore di lavoro Paul Beiersdorf lo trova così bianco, così cremoso, che lui lo immediately lo chiama "Nivea", "neve" in latino. E nel 1912 lancia il marchio sui mercati tedesco, britannico e austriaco. Nel 1932 per proporre un nuovo prodotto sul mercato francese concede una licenza di produzione ad un altro farmacista in Francia, Jacques Peloille. Ma lo stesso nome Nivea fu registrato dai Guerlain nel 1875. Casa Guerlain produsse una crema solare per il viso destinata non solo a proteggere la pelle dal sole, ma anche a sbiancarla. Solo nel 1942 il nome e il marchio furono ceduti da casa Guerlain all'azienda tedesca.


Invenzioni del XX secolo
L'invenzione di cosmetici e profumeria è continuata per tutto il XX secolo, come evidenziato da alcune domande di brevetto. È il caso, ad esempio, di questo brevetto di invenzione n. 556905 depositato il 10 gennaio 1922 dalla Guerlain Company per una scatola di polvere (Archivi INPI):

PROGETTAZIONE GUERLAIN DI SCATOLA POLVERI ARCHIVIATA PRESSO INPI
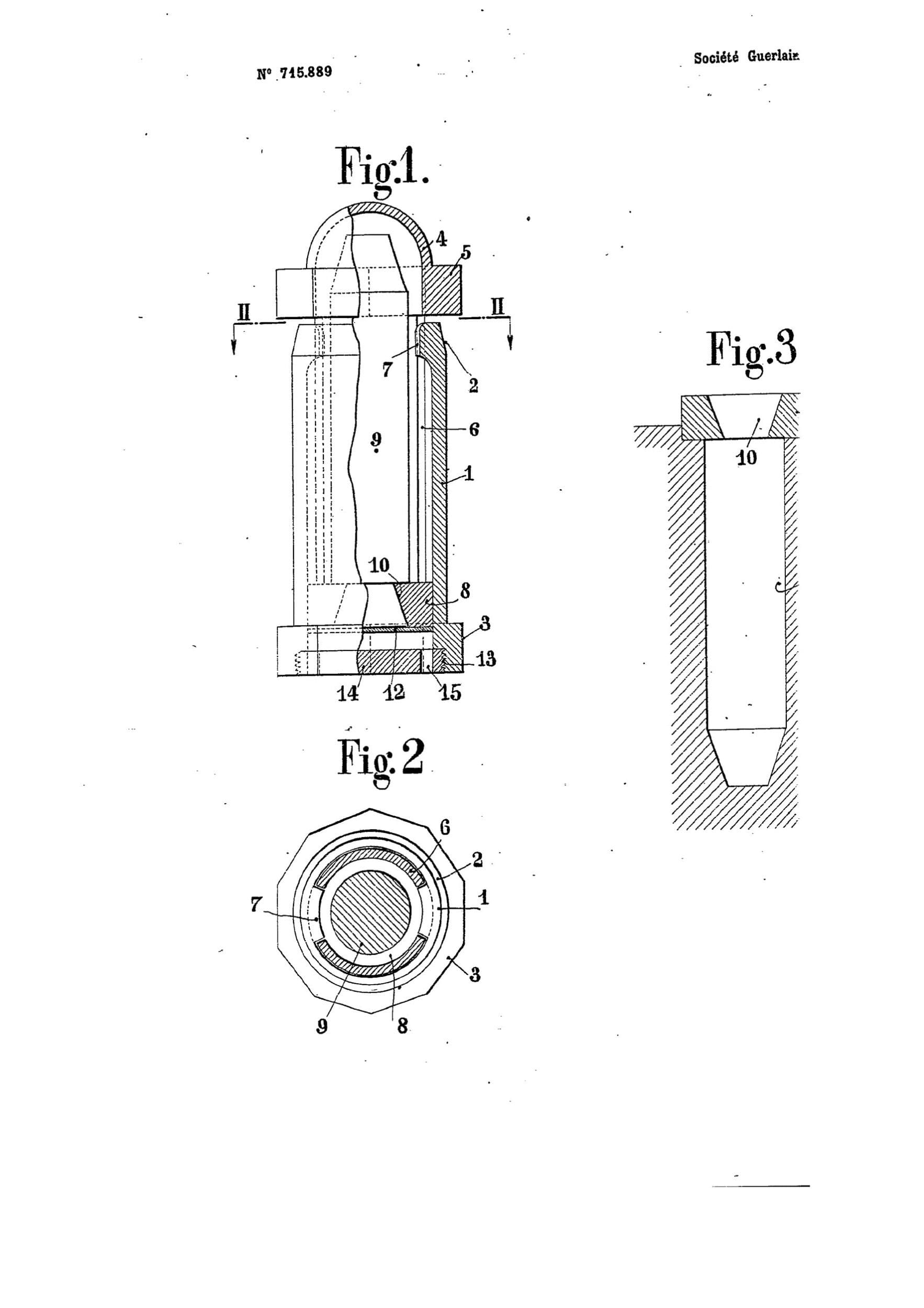
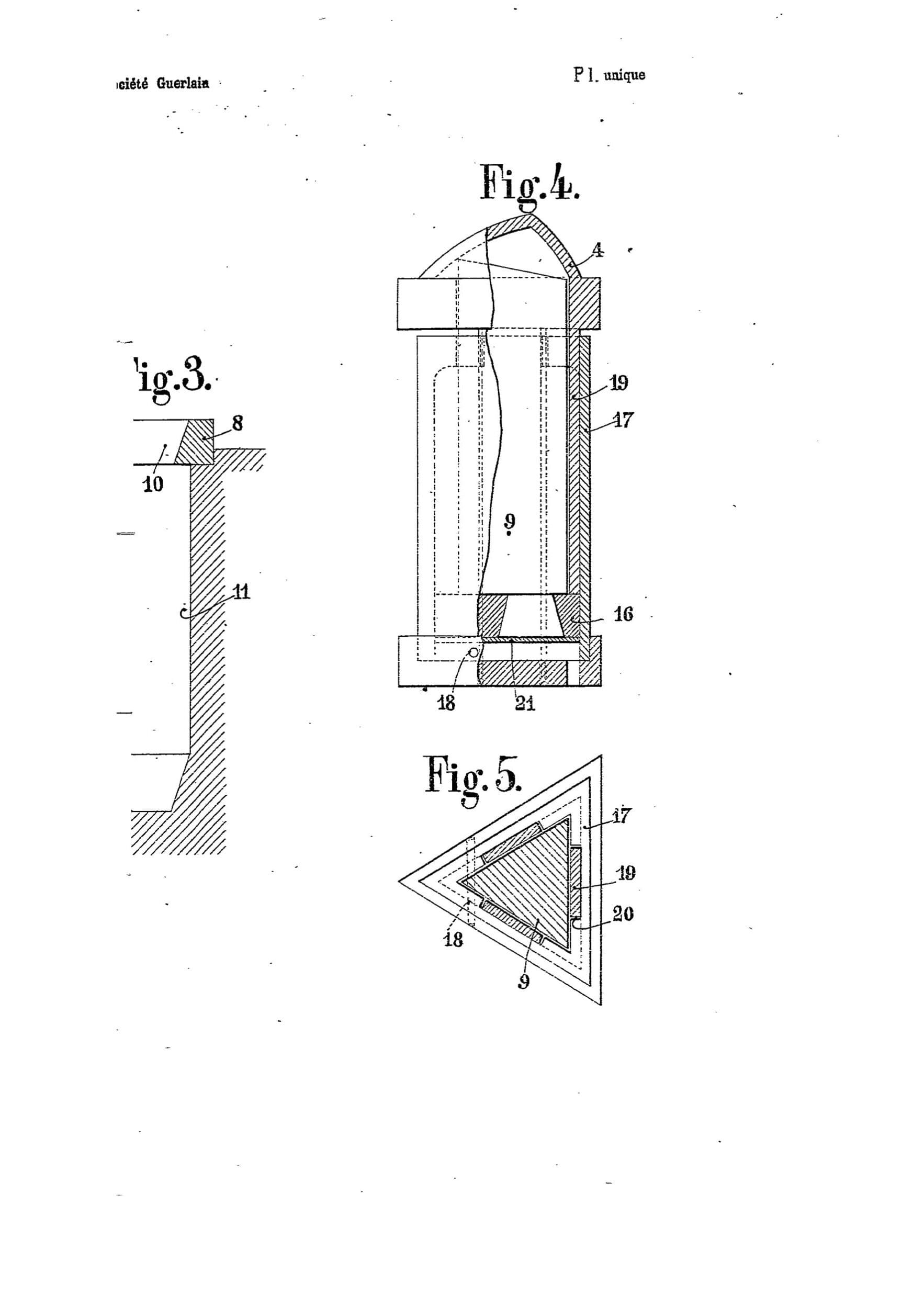
Un altro esempio risiede in questo brevetto n ° 715889 depositato il 23 aprile 1931 dalla Guerlain Company per una custodia per stick per rossetto e altri (Archivio INPI). The Argus (Melbourne, Vic.: 1848 - 1957), giovedì 6 giugno 1935, pagina 12, parla della tonalità di rossetto Tropical di Guerlain, questa era una tonalità per la loro gamma di rossetti Rose du Moulin.

DISEGNO GUERLAIN DI ROSSETTO ARCHIVIATO PRESSO INPI
Altri brevetti sono stati depositati fino ad oggi, in particolare per invenzioni specifiche per contenitori per cosmetici o per composizioni di prodotti di bellezza.
Disegni Guerlain
Oltre e parallelamente alla tutela del marchio rappresentato dalla casa Guerlain e dalle sue molteplici invenzioni, un altro titolo di proprietà industriale completa la tutela dei prodotti Guerlain: disegni e modelli. Destinato a proteggere l'aspetto di un prodotto, il design contribuisce al successo commerciale distinguendosi dai potenziali concorrenti. Per quanto riguarda l'eredità dei titoli industriali depositati da Guerlain, questi design ripercorrono l'evoluzione e l'essenza del marchio.
Il primo disegno conservato dall'INPI è un astuccio per il trucco depositato il 06.11.1909:

I cosmetici ei loro vari contenitori occupano ancora una volta una grande parte tra i depositi, ad esempio questa custodia per rossetti, il cui design è stato registrato il 31 ottobre 1951:

L'universo della casa di Guerlain ruota anche intorno alle bottiglie dei suoi più grandi profumi, tra cui il famoso Shalimar. Va notato che diversi depositi riguardano la forma di questa bottiglia, così particolare nella storia del marchio.
Iconici flaconi Guerlain
Flacone Chauve Souris. Design per profumo Flacone Shalimar chiamato Chauve Souris (The Bat) creato nel 1924. Flacone a forma di urna disegnato da Raymond Guerlain e prodotto da Baccarat per contenere solo l'estratto di Shalimar. La bottiglia è stata prodotta anche da Pochet et du Courval, Saint Gobain des Jonqueres e Cristal Romesnil (anni '1920). Questa bottiglia è disponibile in diversi formati, dalla miniatura all'enorme factice. Un raro esempio aveva un tappo trasparente, invece del solito lavaggio blu. Flacone Baccarat # 597. Shalimar è stato ribattezzato No.90 per un breve periodo durante una causa legale contro un'altra società che stava usando il nome Shalimar per il loro profumo. Potresti trovare una rara bottiglia n. 90 con un tappo trasparente traslucido, prodotta da Baccarat. Le prime bottiglie presentano un piccolo foro praticato nella base del tappo, in cui passerebbero i fili per sigillare e formare una nappa. Questa caratteristica fa risalire queste bottiglie al 1927-1936 secondo una pubblicità del 1927 che ho nella galleria fotografica che mostra una bottiglia con il foro nel tappo.



DISEGNI GUERLAIN ARCHIVIATI CON USPTO

Flacone Rayonnant. Un'altra bottiglia iconica è stata oggetto di una registrazione del design: la bottiglia del profumo intitolata Vol de Nuit. Flacon Rayonnant (Radiance) 1933-1983 creato da Baccarat. è stato utilizzato anche per Sous le Vent. Altre bottiglie sono state prodotte da Pochet et du Courval. Le bottiglie vanno da un verde fumoso a limpido. Le bottiglie sono state spesso realizzate in edizioni limitate nel corso degli anni. Stilizzato per assomigliare al movimento dell'elica di un aereo, un cenno al romanziere / aviatore Antoine de Saint-Exupery e al suo libro Volo notturno (Vol de Nuit). Questo profumo è stato creato nel 1933, quando anche il design è stato registrato, in omaggio alla storia dell'aviazione e forse ancora più in particolare a Saint-Exupéry poiché il profumo porta lo stesso titolo del libro dell'aviatore apparso due anni prima.


Flacone Abeilles (Api) - creato 1828 e in uso fino ad oggi. L'iconico flacone a nido d'ape o ape ispirato alla colonna di Place Vendome è un'ode allo stemma della famiglia reale. L'ape simboleggia l'immortalità e la resurrezione. Questo flacone è usato per l'acqua di colonia e l'eau de toilette. Realizzato da Pochet et du Courval. Originariamente creato per ospitare "Eau de Cologne Impériale" per l'imperatrice Eugenia, moglie di Napoleone III. Le sue api decorative erano un simbolo di Napoleone e da allora sono diventate il simbolo della casa di Guerlain. Puoi personalizzare la tua bottiglia di api con il tuo monogramma o le api dipinte con smalto dorato.

Flacone Bouchon Coeur (Tappo a forma di cuore) creato nel 1912 e in uso fino ad oggi. Flacon originariamente creato per ospitare extrait di L'Heure Bleue, Fol Arome e Mitsouko. Successivamente utilizzato per fragranze in edizione speciale come Le Petite Robe Noire, Mitsouko Fleur de Lotus, Shalimar. Flacone prodotto da Baccarat, Pochet et du Courval, Verreries Brosse, Cristalleries de Nancy e Cristal Romesnil. Progettato da Raymond Guerlain in collaborazione con Baccarat.

Flacone Bouchon quadrilobo (tappo quadrifoglio) creato nel 1908 e in uso fino ad oggi. Il quadrilobo del flacone è stato realizzato da vari produttori come Baccarat, Pochet et du Courval e Cristalleries de Nancy per contenere extrait per vari profumi. Alcune bottiglie successive contengono eaux de toilette o eaux de parfum. Flacone Baccarat # 24. Creato nel 1908 per la fragranza Rue de la Paix e da allora è stato utilizzato come "bottiglia della casa". Le etichette conosciute come "etiquette laurier" a causa dei bordi delle foglie di alloro, ad eccezione del profumo Coque D'Or, Dawamesk, Liu e Fleur de Feu che mostrano un design più "modernista".


Anfora Flacone (Anfora) 1955-1982. Utilizzato per extrait di Ode, Shalimar, Chant D'Aromes, Liu, Jicky, L'Heure Bleue, Mitsouko, Muguet, Chamade, Sous le Vent, Vol de Nuit, Une Fleur. Bottiglia prodotta sia da Baccarat che da Pochet et du Courval.

Flacon Montre (orologio) 1936-1999. Il flacone creato da Pochet et du Courval per contenere l'acqua di colonia, utilizzato per la prima volta con Cachet Jaune nel 1936, conteneva anche vari altri profumi come Shalimar, Mitsouko, Jicky, Fol Arome, Chamade, Chant D'Aromes, Liu, L'Heure Bleue , Vol de Nuit, Sous Le Vent, Chypre 53, Parure e altri. Un articolo del 1950 recita: “Guerlain consiglia di spruzzare una stanza con la loro famosa acqua di colonia Shalimar. Questa è una forma più leggera del loro famoso profumo. Poiché è più leggero, è meno costoso e può essere utilizzato in modo più generoso ".


Flacone Noeud Papillon (Nodo a farfalla) 1937-1956. Baccarat ha creato questa bottiglia per contenere gli extra di Dawamesk, Kriss, Champs Elysees e Coque d'Or. La bottiglia era disponibile in vetro blu cobalto e cobalto con rivestimento dorato. Le bottiglie sono state realizzate anche da Pochet et du Courval. i tappi erano originariamente lisci ma successivamente modificati per facilitarne l'apertura. Flacone Baccarat # 770.

Flacone ottomano Vinaigrier 1870-1915. Bellissimo flacone in stile anfora antica, a volte potresti trovarlo con disegni smaltati. Estremamente raro ed eccezionale vetro incolore "Vinaigrier Ottoman" in stile decanter per bottiglie, sezione cilindrica stampata e pressata, ventre lobato a bulbo, collo alto a imbuto, riccamente decorato con motivi dipinti policromi di tappo a mano orientale dipinto di rosso oliva e blu riccamente accentato con oro, creato dalla vetreria Pochet et du Courval. Modello disponibile in quel momento su ordine speciale. È alto 21 cm.
Flacone Etrusco nasce agli inizi del '1900 per contenere la Lozione Vegetale. Il cappuccio era costituito da una fusione di metallo dorato con motivo a fogliami. La bottiglia è stata prodotta da Pochet et du Courval. L'edizione di lusso aveva dorature sulle spalle e sulla base della bottiglia. La bottiglia classica non ha dorature, tranne che sul tappo.
Flacon Carre (quadrato) 1879 -? Creato da Pochet et du Courval per contenere eaux de toilettes, eaux de colognes e lozione vegetale. Fu utilizzato principalmente negli anni '1870 e '1880 del XIX secolo per contenere le fragranze di Guerlain; e la sua forma da speziale era tipica delle bottiglie usate da tutte le profumerie dell'epoca.

Flacon de Cave (Flacone di vino) 1830-1938. Conosciuto anche come Flacon Chinois. Bottiglia creata da Pochet et du Courval e utilizzata per eaux de colognes, eaux de toilettes. Può essere dorato.
Flacone Impero 1902-1959. Flacone creato da Pochet et du Courval per contenere extra di vari profumi come Apres L'Ondee e Sillage. Bottiglia, con drappeggio dorato, originariamente creata per ospitare il profumo Bon Vieux Temps.
Flacon Escargot (lumaca) 1902-1962. Flacone creato da Pochet et du Courval per contenere extra di Mouchoir de Monsieur, Voilette de Madame e Ai Loe. Bottiglia di forma triangolare; la stilizzazione del nome Guerlain sulla sua spalla, diventa il corpo di una lumaca da cui prende il nome.

Flacon Goutte (lacrima) 1923-2001. Bottiglia creata da Pochet et du Courval per contenere solo eaux de toilette. Bottiglia realizzata anche da diversi produttori nel corso degli anni. Creato come presentazione standard di Eau de Toilette. Il tappo in vetro smerigliato è costituito da due gusci di cardo; l'etichetta raffigura due delfini conosciuti come "Etiquette Dauphin". "L'acqua della toilette in una bottiglia ovale con la parte superiore dell'atomizzatore è nuova, $ 5." (1939) "Guerlain ora ha una dimensione di 5 dollari di acqua da toilette in tutte le fragranze popolari come Shalimar, L'Heure Bleue, Vol de Nuit, Coque D'Or, Liu, Mitsouko, Sous Le Vent e Jicky." (1940, Industria farmaceutica e cosmetica, volume 46).
Flacone Lalique 1925-1963. Bottiglia creata da Lalique per contenere extrait di Bouquet de Faunes e Jasmin. Il volto della fanciulla sul davanti della bottiglia è stato ripreso dall'ingresso della boutique Guerlain al 68 di Avenue Champs-Elysées, Parigi, Francia.
Flacone Luigi XVI 1902-2002. Flacone creato da Pochet et du Courval per contenere extra di Apres L'Ondee, Muguet, Mouchoir de Monsieur, Violette a deux Sous, Aux Bon Vieux Temps, Sillage, Avril en Fleurs, Ai Loe e altri. Flacon è stato utilizzato anche per edizioni speciali limitate come Chamade. La scatola originale è bianca, di forma cilindrica e ha Guerlain Paris in foglia d'oro.

Flacon L'Urne Antique creato nel 1830. 1830 Flacone e tappo per profumo Guerlain, utilizzato per vari profumi, vetro trasparente, etichetta per indirizzo stampata. La bottiglia è alta 4 ″.
Flacon Mauresque (moresco) 1910 -? Bottiglia creata da Pochet et du Courval per vari profumi. Splendidamente decorazione smaltata. Basato su un flacone di profumo persiano o moresco del XVII secolo nella collezione della famiglia Guerlain. Questo flacone è stato utilizzato anche per altri profumi Guerlain. Su misura per profumi personalizzati. Gli ospiti possono scegliere la forma della bottiglia di profumo, la forma del tappo, la decorazione e il colore dei fiori.
Flacone Opalino 1951 -? Creato dalla società Cristal et Bronze e disegnato da R. Noirot, questo flacone è decorato con farfalle smaltate, è pensato per assomigliare alle bottiglie di colonia opaline francesi della metà del XIX secolo così popolari nell'era vittoriana. La bottiglia conteneva vari profumi Guerlain standard come L'Heure Bleue, Mitsouko, Jicky, Shalimar ed è stata anche vista senza alcun nome di profumo specifico nel cartiglio sulla parte anteriore della bottiglia.

Flacon Brun Fume (Brown Smoke) creato nel 1933. Flacone prodotto da Baccarat per contenere extra di Candide Effluve, A Travers Champs e Guerlinade. Candide Effluve era riissued in questo flacone Baccarat in edizione limitata nell'ottobre 2007. Flacone Baccarat # 744.

Flacone Lanterne (Lanterna) 1935-1943. Flacone creato da Pochet et du Courval per contenere extra di Jicky, Rue de la Paix, Cuir de Russie, Jasmine, Sous le Vent e altri. La bottiglia era riissued nel 1999 per tenere un ritratto in edizione limitata di Guet Apens.
Flacon Petit Beurre (Little Butter Pat) 1916 -? Flacone in edizione limitata creato da Baccarat e Pochet et du Courval. Ospitava varie fragranze Guerlain come L'Heure Bleue, Mitsouko, Rue de la Paix, Candide Effluve, A Travers Champs, Fol Arome, Quand Vient L'Ete, Kadine, Guerlinade, Une Rose, Pour Troubler, Vague Souvenir e Champs Elysees.

Le meteoriti
A metà degli anni '1980, Guerlain ebbe l'idea di creare la collezione Les Meteorites. La collezione era composta da contenitori in metallo dorato e colorati cloisonné smaltati che potevano essere ricaricati. "I meteoriti rappresentano lo stile esclusivo di GUERLAIN".
Spray naturale ricaricabile Les Meteorites edizione limitata di Guerlain Paris-15 ml Parfum de Toilette. La forma del vaporizzatore ricorda l'orologio da taschino del predecessore. Entrambi i lati sono ricoperti dall'intricato smalto "cloisonne" multicolore a forma di rosetta. La collezione Les Meteorites comprendeva piccoli flaconi spray da borsetta rotondi da 15 ml che potevano essere ricaricati inserendo un nuovo flacone interno di profumo. I profumi disponibili all'epoca erano Shalimar, L'Heure Bleue, Mitsouko, Jicky, Chamade e Chant D'Aromes.
I prodotti della linea METEORITES si sono guadagnati una reputazione prestigiosa grazie al loro design unico che unisce tradizione e innovazione. Dieci rossetti, uno specchio compatto e tre tonalità di cipria hanno contribuito a completare la collezione. Nel 2000, Guerlain ha rilasciato Les Meteorites, un profumo a base di violetta cipriata e iris.

Altri modelli della Maison Guerlain
Per quanto riguarda le bottiglie e il mondo della profumeria Guerlain, i depositi sono molto numerosi e riguardano anche elementi pubblicitari e packaging dei prodotti che rispecchiano anche l'identità del marchio.
Guerlain House ha creato una collezione di sciarpe di seta e articoli in pelle per contribuire all'identità di Guerlain. Le sciarpe di seta incorporavano tutte le bottiglie della casa Guerlain.
Disegno n ° 941149 depositato dalla Società Guerlain per una sciarpa di seta (Archivio INPI):

La collezione di borse è stata lanciata anche negli anni '1990:
Disegno n ° 934417 depositato il 08/27/1993 da Guerlain SA per una borsa in pelle (Archivio INPI).

Così, gli archivi delle creazioni di questa grande casa di lusso francese oggi custoditi dall'INPI ripercorrono la storia di quasi due secoli di inventiva, di gusti e di saper fare continuamente rinnovati che continuano a crescere. alimentare in modo sostenibile la brillantezza del marchio.

In un'intervista esclusiva con Eleonora de Gray, caporedattore di RUNWAY MAGAZINE Jean Paul Guerlain ha espresso la sua passione.

"Guerlain è una delle aziende più famose che utilizza principalmente olio naturale. Anche Chanel, ma siamo sicuramente una delle ultime società di profumi che utilizza principalmente oli naturali. Amo particolarmente l'essenza naturale. Ho sempre amato la rosa, e ne ho sempre usata molto . In molti profumi c'era la rosa, e anche mio nonno la usava molto. Ma amavo così tanto la rosa che ho creato un profumo chiamato Nahema che si basa principalmente sull'olio essenziale di rosa. E devo dire che ero molto giovane a quel tempo . Mio zio e mio padre erano i due capi dell'azienda felicemente per me. Non mi hanno mai chiesto di valutare ciò che stavo creando. C'era così tanta rosa a Nahema che pensavo che non l'avrebbero mai lanciata. fragranze di successo. E lavoro ancora più o meno per il mio piacere. Fare il profumo è più, direi, non è tanto chimica quanto cucinare. Ma è molto molto vicino alla cucina per il modo in cui [ci mescoliamo] e nel gusto, e tutto, che non è poi così lontano come cucinare ”.
Intervista esclusiva di Eleonora de Gray, caporedattore di RUNWAY RIVISTA, 2015
RUNWAY MAGAZINE presenta tesori INPI - innovazioni nella moda. L'Istituto Nazionale della Proprietà Industriale (INPI) esamina e issues titoli di proprietà industriale (brevetti, marchi, design e modelli) in Francia. Creato nel 1951 sotto la supervisione del Ministero dell'Economia e delle Finanze, è l'erede delle istituzioni che l'hanno preceduto dalla fine del XVIII secolo. In quanto tale, l'INPI è responsabile della gestione di questi archivi pubblici ed è così diventato una delle memorie dell'innovazione in Francia. Custodisce un ricco patrimonio, costituito da tutti i brevetti dal 18, marchi dal 1791 e design dal 1857: quasi 1910 milioni di documenti, ovvero 7.5 chilometri lineari accuratamente conservati. Frutto di generazioni di inventori, ingegneri, industriali, creatori e persino artisti, questi archivi sono di unico interesse storico e documentario e rappresentano una fonte iconografica ancora poco conosciuta.
Ringraziamenti speciali per il contributo:
Grazia Hummel, storico del profumo e autore di blog "I PROFUMI GUERLAIN DAL PASSATO AD OGGI"
Isabella Rousseau, Direttore delle pubbliche relazioni per la casa di Guerlain




















